Решение задачи С1 вариант 30 из решебника по теоретической механике Яблонский А.А. 1978г, на тему: Определение реакций опор и усилий в стержнях...
Решение задачи К1 Вариант 2 из решебника по теоретической механике Яблонский А.А. 1978 г., на тему: К1 Определение скорости и ускорения точки по...
Решение задачи К1 Вариант 5 из решебника по теоретической механике Яблонский А.А. 1978 г., на тему: К1 Определение скорости и ускорения точки по...
Решение задачи С11 вариант 25 из решебника к сборнику по теоретической механике Яблонский А.А. 1978 г., II. Система сил, не лежащих в одной...
Решение задачи С9 вариант 1 из решебника к сборнику по теоретической механике Яблонский А.А. 1978 г., II. Система сил, не лежащих в одной плоскости...
Решение задачи С9 вариант 4 из решебника к сборнику по теоретической механике Яблонский А.А. 1978 г., II. Система сил, не лежащих в одной плоскости...
Решение задачи С9 вариант 5 из решебника к сборнику по теоретической механике Яблонский А.А. 1978 г., II. Система сил, не лежащих в одной плоскости...
Решение задачи С9 вариант 14 из решебника к сборнику по теоретической механике Яблонский А.А. 1978 г., II. Система сил, не лежащих в одной плоскости...
Решение задачи С9 вариант 23 из решебника к сборнику по теоретической механике Яблонский А.А. 1978 г., II. Система сил, не лежащих в одной плоскости...
Решение задачи С12 вариант 9 из решебника к сборнику по теоретической механике Яблонский А.А. 1978 г., II. Система сил, не лежащих в одной плоскости...
Решение задачи С12 вариант 21 из решебника к сборнику по теоретической механике Яблонский А.А. 1978 г., II. Система сил, не лежащих в одной...
Задача Д19-04.tif Для заданной механической системы определить ускорения грузов и натяжения в ветвях нитей, к которым прикреплены грузы. Массами...
Задача Д19-06.tif Для заданной механической системы определить ускорения грузов и натяжения в ветвях нитей, к которым прикреплены грузы. Массами...
Задача Д19-13.tif Для заданной механической системы определить ускорения грузов и натяжения в ветвях нитей, к которым прикреплены грузы. Массами...
Задача Д19-18.tif Для заданной механической системы определить ускорения грузов и натяжения в ветвях нитей, к которым прикреплены грузы. Массами...
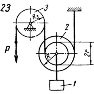
Задача Д19-23.tif Для заданной механической системы определить ускорения грузов и натяжения в ветвях нитей, к которым прикреплены грузы. Массами...
Задача Д19-25.tif Для заданной механической системы определить ускорения грузов и натяжения в ветвях нитей, к которым прикреплены грузы. Массами...
Решение задачи К3 Вариант 27 из решебника по теоретической механике Яблонский А.А. 1978 г., на тему: К3 Определение скоростей и ускорении точек...
Решение задачи К3 Вариант 28 из решебника по теоретической механике Яблонский А.А. 1978 г., на тему: К3 Определение скоростей и ускорении точек...
ВНИМАНИЕ! Это решение идёт как второй способ к решению Д19-05. Поэтому решение без рисунка! Рисунок есть в поиске выше "Решение задачи Д19-05 из...
ВНИМАНИЕ! Это решение идёт как второй способ к решению Д19-10. Поэтому решение без рисунка! Рисунок есть в поиске выше "Решение задачи Д19-10 из...
ВНИМАНИЕ! Это решение идёт как второй способ к решению Д19-11. Поэтому решение без рисунка! Рисунок есть в поиске выше "Решение задачи Д19-11 из...
ВНИМАНИЕ! Это решение идёт как второй способ к решению Д19-15. Поэтому решение без рисунка! Рисунок есть в поиске выше "Решение задачи Д19-15 из...
ВНИМАНИЕ! Это решение идёт как второй способ к решению Д19-20. Поэтому решение без рисунка! Рисунок есть в поиске выше "Решение задачи Д19-20 из...
ВНИМАНИЕ! Это решение идёт как второй способ к решению Д19-24. Поэтому решение без рисунка! Рисунок есть в поиске выше "Решение задачи Д19-24 из...
