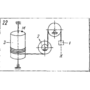
Задание Д24. "Исследование свободных колебаний механической системы с двумя степенями свободы" Решение задачи Д24 Вариант 22. После оплаты Вы...
Решение задачи К1 Вариант 4 из решебника по теоретической механике Яблонский А.А. 1978 г., на тему: К1 Определение скорости и ускорения точки по...
Решение задачи К1 Вариант 7 из решебника по теоретической механике Яблонский А.А. 1978 г., на тему: К1 Определение скорости и ускорения точки по...
Решение задачи К1 Вариант 16 из решебника по теоретической механике Яблонский А.А. 1978 г., на тему: К1 Определение скорости и ускорения точки по...
Решение задачи К1 Вариант 20 из решебника по теоретической механике Яблонский А.А. 1978 г., на тему: К1 Определение скорости и ускорения точки по...
Решение задачи К1 Вариант 25 из решебника по теоретической механике Яблонский А.А. 1978 г., на тему: К1 Определение скорости и ускорения точки по...
Решение задачи С3 вариант 27 из решебника по теоретической механике Яблонский А.А. 1978 г., на тему: СЗ Определение усилии в стержнях плоской фермы...
Решение задачи С3 вариант 30 из решебника по теоретической механике Яблонский А.А. 1978 г., на тему: СЗ Определение усилии в стержнях плоской фермы...
Решение задачи С4 вариант 14 из решебника к сборнику по теоретической механике Яблонский А.А. 1978 г., на тему: С4 Определение реакций опор составной...
Решение задачи С4 вариант 27 из решебника к сборнику по теоретической механике Яблонский А.А. 1978 г., на тему: С4 Определение реакций опор составной...
Решение задачи С4 вариант 29 из решебника к сборнику по теоретической механике Яблонский А.А. 1978 г., на тему: С4 Определение реакций опор составной...
Решение задачи С6 вариант 4 из решебника к сборнику по теоретической механике Яблонский А.А. 1978 г., на тему: С6 Определение реакций опор составной...
Задача Д19-12.tif Для заданной механической системы определить ускорения грузов и натяжения в ветвях нитей, к которым прикреплены грузы. Массами...
Задача Д19-15.tif Для заданной механической системы определить ускорения грузов и натяжения в ветвях нитей, к которым прикреплены грузы. Массами...
Задача Д19-17.tif Для заданной механической системы определить ускорения грузов и натяжения в ветвях нитей, к которым прикреплены грузы. Массами...
Задача Д19-28.tif Для заданной механической системы определить ускорения грузов и натяжения в ветвях нитей, к которым прикреплены грузы. Массами...
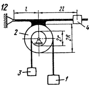
Задача Д19-30.tif Для заданной механической системы определить ускорения грузов и натяжения в ветвях нитей, к которым прикреплены грузы. Массами...
Решение задачи К2 Вариант 27 из решебника по теоретической механике Яблонский А.А. 1978 г., на тему: К2 Составление уравнений движения точки и...
Решение задачи К2 Вариант 29 из решебника по теоретической механике Яблонский А.А. 1978 г., на тему: К2 Составление уравнений движения точки и...
Решение задачи К2 Вариант 30 из решебника по теоретической механике Яблонский А.А. 1978 г., на тему: К2 Составление уравнений движения точки и...
Решение задачи К3 Вариант 22 из решебника по теоретической механике Яблонский А.А. 1978 г., на тему: К3 Определение скоростей и ускорении точек...
ВНИМАНИЕ! Это решение идёт как второй способ к решению Д19-03. Поэтому решение без рисунка! Рисунок есть в поиске выше "Решение задачи Д19-03 из...
ВНИМАНИЕ! Это решение идёт как второй способ к решению Д19-21. Поэтому решение без рисунка! Рисунок есть в поиске выше "Решение задачи Д19-21 из...
ВНИМАНИЕ! Это решение идёт как второй способ к решению Д19-27. Поэтому решение без рисунка! Рисунок есть в поиске выше "Решение задачи Д19-27 из...
ВНИМАНИЕ! Это решение идёт как второй способ к решению Д19-28. Поэтому решение без рисунка! Рисунок есть в поиске выше "Решение задачи Д19-28 из...
