Задание Д19 методом Лагранжа 2 рода. "Применение общего уравнения динамики к исследованию движения механической системы с одной степенью свободы...
Задание Д24. "Исследование свободных колебаний механической системы с двумя степенями свободы" Решение задачи Д24 Вариант 17. После оплаты Вы...
Решение задачи С1 вариант 27 из решебника по теоретической механике Яблонский А.А. 1978г, на тему: Определение реакций опор и усилий в стержнях...
Решение задачи С1 вариант 29 из решебника по теоретической механике Яблонский А.А. 1978г, на тему: Определение реакций опор и усилий в стержнях...
Решение задачи С5 вариант 28 из решебника по теоретической механике Яблонский А.А. 1978 г., на тему: С5 Определение реакций опор составной...
Решение задачи С3 вариант 26 из решебника по теоретической механике Яблонский А.А. 1978 г., на тему: СЗ Определение усилии в стержнях плоской фермы...
Решение задачи С4 вариант 5 из решебника к сборнику по теоретической механике Яблонский А.А. 1978 г., на тему: С4 Определение реакций опор составной...
Решение задачи С4 вариант 17 из решебника к сборнику по теоретической механике Яблонский А.А. 1978 г., на тему: С4 Определение реакций опор составной...
Решение задачи С4 вариант 18 из решебника к сборнику по теоретической механике Яблонский А.А. 1978 г., на тему: С4 Определение реакций опор составной...
Решение задачи С4 вариант 20 из решебника к сборнику по теоретической механике Яблонский А.А. 1978 г., на тему: С4 Определение реакций опор составной...
Решение задачи С4 вариант 23 из решебника к сборнику по теоретической механике Яблонский А.А. 1978 г., на тему: С4 Определение реакций опор составной...
Решение задачи С4 вариант 24 из решебника к сборнику по теоретической механике Яблонский А.А. 1978 г., на тему: С4 Определение реакций опор составной...
Решение задачи С8 вариант 26 из решебника к сборнику по теоретической механике Яблонский А.А. 1978 г., II. Система сил, не лежащих в одной плоскости...
Решение задачи С11 вариант 6 из решебника к сборнику по теоретической механике Яблонский А.А. 1978 г., II. Система сил, не лежащих в одной плоскости...
Решение задачи С9 вариант 16 из решебника к сборнику по теоретической механике Яблонский А.А. 1978 г., II. Система сил, не лежащих в одной плоскости...
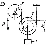
Задача Д19-08.tif Для заданной механической системы определить ускорения грузов и натяжения в ветвях нитей, к которым прикреплены грузы. Массами...
Решение задачи К2 Вариант 21 из решебника по теоретической механике Яблонский А.А. 1978 г., на тему: К2 Составление уравнений движения точки и...
Решение задачи К2 Вариант 22 из решебника по теоретической механике Яблонский А.А. 1978 г., на тему: К2 Составление уравнений движения точки и...
Решение задачи К2 Вариант 23 из решебника по теоретической механике Яблонский А.А. 1978 г., на тему: К2 Составление уравнений движения точки и...
Решение задачи К5 Вариант 27 из решебника по теоретической механике Яблонский А.А. 1978 г., на тему: К5 Определение скоростей и ускорении точек...
Решение задачи К3 Вариант 3 из решебника по теоретической механике Яблонский А.А. 1978 г., на тему: К3 Определение скоростей и ускорении точек...
Решение задачи К3 Вариант 19 из решебника по теоретической механике Яблонский А.А. 1978 г., на тему: К3 Определение скоростей и ускорении точек...
Решение задачи К3 Вариант 20 из решебника по теоретической механике Яблонский А.А. 1978 г., на тему: К3 Определение скоростей и ускорении точек...
Решение задачи К3 Вариант 30 из решебника по теоретической механике Яблонский А.А. 1978 г., на тему: К3 Определение скоростей и ускорении точек...
ВНИМАНИЕ! Это решение идёт как второй способ к решению Д19-23. Поэтому решение без рисунка! Рисунок есть в поиске выше "Решение задачи Д19-23 из...
